Шлифование различных деревянных деталей – необходимость, с которой сталкивается каждый желающий сделать ремонт в своем доме, или собственными руками создать какой-нибудь элемент декора.
Конечно, отшлифовать маленькие детали можно и обычной наждачной бумагой, но чтобы справиться с большим объемом работы следует поменять наждак на шлифовальный станок. Он поможет существенно сэкономить время и быстро приведет деталь в соответствующий вид. Одним из таких полезных приспособлений является и барабанный шлифовальный станок.
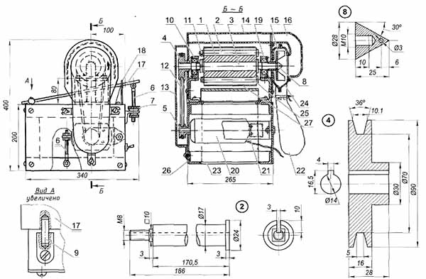
Классификация и строение
Шлифовальные устройства барабанного типа относятся к станкам калибровочного класса. Такой шлифовальный станок чаще всего применяют для работы по дереву, но им можно обрабатывать и другие материалы.


Цилиндрический шлифовальный круг (барабан) позволяет калибровать доски и рейки различной длины и конфигурации. Заготовка также может быть выполнена из разных материалов: ДСП, шпона и т. д.
Строение шлифовального аппарата:
- Цилиндрический шлифовальный барабан.
- Приспособление для подачи.
- Пылеудаляющее устройство.
- Рабочая поверхность.
- Преобразователь скоростей барабана.
- Двигатель, который приводит в действие шлифовальный цилиндр.
- Станина для крепления ключевых узлов станка.
- Регулятор высоты барабана.
- Приспособление для защиты оператора.
Здесь перечислены основные элементы строения барабанного станка. В зависимости от конкретной модели устройства и специфики его предназначения, конфигурация может немного меняться.
Основные модели устройств
Станки барабанного типа можно приобрести в готовом к использованию виде. Существует несколько наиболее популярных и распространенных брэндов по производству этих устройств. Есть смысл представить отдельные их модели.
Компания JET. Американская фирма специализируется на производстве современных станков самых различных типов, в том числе и барабанных. В линейке ее товаров есть несколько шлифовальных станков с цилиндрической формой рабочего круга.
- JET DDS-225. Данный станок является одним из наиболее мощных устройств такого типа в линейке производителя. Его применяют как в домашних мастерских, так и на небольших производствах. Характерная черта – двойной шлифовальный барабан. Стоимость у этого станка соответствующая – от 150000 рублей.
- JET 10-20 PLUS. Компактное устройство для шлифования, которое позволяет обрабатывать до 50 сантиметров поверхностей. Отлично подойдет для небольших домашних мастерских. Стоимость не превышает 25 тыс. рублей.
- JET 16-23 PLUS. Считается одним из наиболее универсальных станков своего типа. Его применяют для обработки строительных материалов, кухонных приборов и даже музыкальных инструментов. Чаще всего такой станок используют на мелких предприятиях по производству мебели.
Кроме этих станков, есть и неплохие варианты от немецких производителей. Стоит отметить, что в зависимости от цены, немецкие компании предлагают и соответствующие наборы возможностей для своих аппаратов. Минимальная сумма, за которую можно приобрести шлифовальный станок в базовой комплектации – 15-16 тыс. рублей.
Видео: пошаговое изготовление барабанного шлифовального станка.
Как сделать шлифовальный станок своими руками?
Если нет возможности выложить достаточно круглую сумму за достойный вариант барабанного шлифовального станка, то стоит попробовать сделать его своими силами. Для человека, который неплохо разбирается в механике – это не слишком сложная задача. К тому же так вам удастся сэкономить значительные денежные ресурсы.
Для того чтобы собрать барабанный шлифовальный станок в домашних условиях необходимо обзавестись следующими его частями:
- Барабан шлифовальный. Цилиндрической формы приспособление можно создать на базе «мусорных» строительных материалов. В этих целях часто используют ровные куски деревянных брусков, которые равномерно крепят на специальную металлическую ось при помощи клея. При этом особое внимание следует обратить на плотность прилегания этих брусков друг к другу. Также барабан можно сделать на базе поливинилхлоридовой трубы с диаметром до 10 см, которая одевается на железный стержень с диаметром 1,5-2 см. По длине она должна быть немного короче самого стержня. В концы трубы вставляем специальные заглушки с отверстиями для стержня. Рекомендуем заглушки закрепить при помощи шурупов. Продеваем и закрепляем стержень. На трубу наматываем плотный слой резины, на которую и будет крепиться наждачная бумага.
- Двигатель. Лучше всего использовать рабочий двигатель от старой стиральной машины (как и шкивы, ремни и т. д.). Оптимальная мощность мотора должна составлять от 200 до 300 Вт. Желательно чтобы двигатель также был асинхронным и однофазным. Уровень оборотов – 2000-3000.
- Корпус. По конструкции он должен быть простым и удобным. Лучше всего чтобы корпус станка состоял из двух боковых панелей, распорки и собственно самого стола. Особое внимание следует обратить на прочность и жесткость рабочего стола, который не должен деформироваться при нажатии обрабатываемой заготовки на барабан. Рабочий стол должен состоять из основания и подвижной части.
После того как основные части станка будут собраны по отдельности, можно приступать к окончательной сборке всего аппарата. В первую очередь следует прикрепить мотор к нижней части корпуса станка на месте предварительно просверленных отверстий. Шлифовальный барабан устанавливают в верхней части корпуса и крепят к двум подшипникам, которые находятся на боковых стенках корпуса.


Стоит отметить, что самостоятельное создание барабанного шлифовального станка тоже не обходится без определенных затрат. В первую очередь это касается вашего времени, но станок обойдется вам дешевле, чем заводской, только в том случае, если у вас есть рабочий мотор. Без двигателя и определенных навыков создать дешевый аналог фирменного станка практически невозможно.